相关产品:
不锈钢高压安全阀
TFA48SH-64高温高压安全阀
带散热器弹簧全启式安全阀A40Y
GA42Y-100单杠杆安全阀
内装式安全阀TANA42F
A28H带手柄弹簧全启式安全阀
A46F(Y)先导式安全阀
A44Y带扳手弹簧全启式安全阀
A41H弹簧微启封闭式高压安全阀
A21H不锈钢弹簧微启式安全阀
弹簧微启式螺纹安全阀
保温夹套安全阀
脉冲式安全阀
带扳手弹簧全启式蒸汽安全阀
弹簧微启式氧气安全阀
液压式安全阀
微启弹簧式安全阀
真空负压安全阀
先导式安全阀
单杠杆安全阀
双杠杆安全阀
主安全阀
带散热器弹簧全启式安全阀
高温高压安全阀(电站用)
全启式超高压安全阀
安全溢流阀
弹簧微启式高压安全阀(焊接式)
弹簧全启式安全阀
带手柄弹簧全启式安全阀
弹簧微启封闭式安全阀
弹簧微启式外螺纹安全阀
波纹管平衡式安全阀
双联弹簧式安全阀
平行式安全回流阀
液化石油气安全阀
弹簧全启封闭式安全阀
带扳手弹簧微启式安全阀
弹簧全启封闭式高压安全阀
弹簧微启封闭式高压安全阀
空压机安全阀
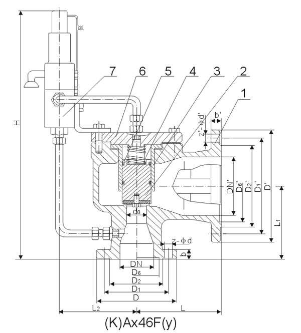
A46F先导式安全阀产品描述
先导式安全阀属于安全阀的一种类型,弹簧式安全阀是利用弹簧还调整定压力,A46H先导式安全阀是用来感受压力值,达到一定压力的时候,先导阀先行开启后主阀也会随之开启,真正释放压力的是主阀,先导阀只是有一个提示作用。先导式安全阀在安全性能上是可靠的,具有稳定、回座快、背压小、密封性能好,*主要的优点就是先导阀的回座快,安全阀迅速开启和关闭,提高了搞到的工资效率。A46型先导式安全阀一般用于、锅炉、电站、容器等场合中,其性能的优越,值得购买。
A46F先导式安全阀主要零部件材料
| NO. | 零件名称 | Ax46Y/F 材料 | KAX46Y/F材料 |
| 1 | 阀体 | WCB | WCB |
| 2 | 阀瓣 | 2Cr13/2Cr13+PTFE | 1Cr18Ni9Ti/1Cr18Ni9Ti+PTFE |
| 3 | 导向套 | 1Cr18Ni9Ti | 1Cr18Ni9Ti |
| 4 | 弹簧 | 50CrVA | 50CrVA |
| 5 | O型圈 | 氟橡胶 | 氟橡胶 |
| 6 | 阀盖 | 25 | 25 |
| 7 | 导阀 | 部件 | |
A46H先导式安全阀主要尺寸

A46H/F-16(16/160)主要尺寸
| 公称通径DN(mm) | DN | do | PN16C~25 | PN40 | |||||||||
| 尺寸(mm) | 重量(kg) | 尺寸(mm) | 重量(kg) | ||||||||||
| L | L1 | H | L | L1 | H | ||||||||
| 25 | 50 | 10 | 13 | 16 | 114 | 105 | 330 | 17 | 114 | 111 | 369 | 18.5 | |
| 32 | 50 | 10 | 13 | 16 | 121 | 124 | 331 | 19 | 121 | 124 | 371 | 20 | |
| 40 | 80 | 20 | 26 | 124 | 130 | 345 | 24 | 124 | 130 | 385 | 26 | ||
| 50 | 80 | 20 | 26 | 33 | 124 | 137 | 348 | 30 | 124 | 137 | 348 | 31 | |
| 80 | 100 | 33 | 40 | 50 | 162 | 156 | 369 | 50 | 162 | 156 | 369 | 53 | |
| 100 | 150 | 50 | 55 | 63 | 72 | 210 | 197 | 448 | 82 | 210 | 197 | 488 | 91 |
| 150 | 200 | 96 | 115 | 241 | 240 | 450 | 144 | 241 | 240 | 490 | 155 | ||
| 200 | 250 | 146 | 279 | 276 | 464 | 298 | 279 | 279 | 504 | 314 | |||
A46H/F-100(64/160)主要尺寸
| 公称通径DN(mm) | DN | do | PN16C~25 | PN40 | |||||||||
| 尺寸(mm) | 重量(kg) | 尺寸(mm) | 重量(kg) | ||||||||||
| L | L1 | H | L | L1 | H | ||||||||
| 25 | 50 | 10 | 13 | 16 | 114 | 111 | 369 | 20 | 121 | 125 | 370 | 22 | |
| 32 | 50 | 10 | 13 | 16 | 121 | 124 | 371 | 21.5 | 140 | 149 | 371 | 27 | |
| 40 | 80 | 20 | 26 | 124 | 130 | 385 | 26 | 171 | 162 | 383 | 30 | ||
| 50 | 80 | 20 | 26 | 33 | 124 | 137 | 388 | 35 | 171 | 167 | 388 | 44 | |
| 80 | 100 | 33 | 40 | 50 | 162 | 162 | 408 | 55 | 181 | 191 | 409 | 73 | |
| 100 | 150 | 50 | 55 | 63 | 72 | 210 | 197 | 488 | 95 | 233 | 249 | 491 | 132 |
| 150 | 200 | 96 | 115 | 241 | 246 | 494 | 182 | - | - | - | - | ||
| 200 | 250 | 146 | 279 | 297 | 504 | 342 | - | - | - | - | |||
相关产品