弹簧微启式外螺纹安全阀
产品型号:A21F、A21H、A21Y
发布时间:2008-5-7
A21F、A21H-C型适用于工作温度≤200℃的空气、氨、石油气……等介质的设备或管路上。A21W-P、R型适用于温度≤200℃有腐蚀性的气体或液体的设备或管路上,作为超压保护装置。KA21Y型适用于温度≤100℃的液化石油气等。
下一个产品:带手柄弹簧全启式安全阀
上一个产品:波纹管平衡式安全阀
相关产品:
不锈钢高压安全阀
TFA48SH-64高温高压安全阀
带散热器弹簧全启式安全阀A40Y
GA42Y-100单杠杆安全阀
内装式安全阀TANA42F
A28H带手柄弹簧全启式安全阀
A46F(Y)先导式安全阀
A44Y带扳手弹簧全启式安全阀
A41H弹簧微启封闭式高压安全阀
A21H不锈钢弹簧微启式安全阀
弹簧微启式螺纹安全阀
保温夹套安全阀
脉冲式安全阀
带扳手弹簧全启式蒸汽安全阀
弹簧微启式氧气安全阀
液压式安全阀
微启弹簧式安全阀
真空负压安全阀
先导式安全阀
单杠杆安全阀
双杠杆安全阀
主安全阀
带散热器弹簧全启式安全阀
高温高压安全阀(电站用)
全启式超高压安全阀
安全溢流阀
弹簧微启式高压安全阀(焊接式)
弹簧全启式安全阀
带手柄弹簧全启式安全阀
弹簧微启封闭式安全阀
弹簧微启式外螺纹安全阀
波纹管平衡式安全阀
双联弹簧式安全阀
平行式安全回流阀
液化石油气安全阀
弹簧全启封闭式安全阀
带扳手弹簧微启式安全阀
弹簧全启封闭式高压安全阀
弹簧微启封闭式高压安全阀
空压机安全阀
弹簧微启式外螺纹安全阀产品详细资料:
A21F、A21H-C型适用于工作温度≤200℃的空气、氨、石油气……等介质的设备或管路上。A21W-P、R型适用于温度≤200℃有腐蚀性的气体或液体的设备或管路上,作为超压保护装置。KA21Y型适用于温度≤100℃的液化石油气等。
弹簧微启式外螺纹安全阀主要零部件材料:
| NO. | 零件名称 | A21H-C/A21F材质 | A21W-P/A21F-P材料 | A21Y-R材料 |
| 1 | 管接头 | 20 | 1Cr18Ni9Ti | 1Cr18Ni12Mo2Ti |
| 2 | 管接头螺母 | 35 | 2Cr13 | 1Cr18Ni9Ti |
| 3 | 阀座 | 35 | 1Cr18Ni9Ti | 1Cr18Ni12Mo2Ti |
| 4 | 阀体 | 2Cr13 | 1Cr18Ni9Ti | 1Cr18Ni12Mo2Ti |
| 5 | 阀瓣 | 2Cr13/2Cr13+PTFE | 1Cr18Ni9Ti/1Cr18Ni9Ti+PTFE | 1Cr18Ni12Mo2Ti |
| 6 | 弹簧座 | 2Cr13 | 1Cr18Ni9Ti | 1Cr18Ni12Mo2Ti |
| 7 | 弹簧 | 50CrVA | 50CrVA包覆氟塑料 | 50CrVA包覆氟塑料 |
| 8 | 锁紧螺母 | Q235-A | ZG230-450 | 1Cr18Ni9Ti |
| 9 | 弹簧导向垫 | 2Cr13 | 1Cr18Ni9Ti | 1Cr18Ni12Mo2Ti |
| 10 | 调节螺母 | Q235-A | 2Cr13 | 1Cr18Ni12Mo2Ti |
| 11 | 密封面材料 | "Y"型堆焊Co基硬质合金,"H"型堆焊D507,"W"型为阀门本体 | ||
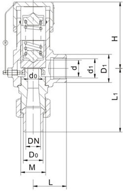
弹簧微启式外螺纹安全阀外形尺寸和连接尺寸:

| 型号 | 公称通径 | do | d | Do | M | d1 | D1 | L | L1 | ≈H |
|
KA21-16C A21H-16C A21H-40 A21W-16P A21W-40P |
15 | 12 | 15 | 20 | M27×1.5 | G1/2" | 30 | 35 | 76 | 66 |
| 20 | 16 | 20 | 25 | M33×1.5 | G3/4" | 35 | 40 | 87 | 68 | |
| 25 | 18 | 25 | 31 | M39×1.5 | G1" | 40 | 50 | 100 | 105 | |
|
A21Y-64 A21Y-64P A21Y-100 |
15 | 10 | 15 | 25 | M39×1.5 | G1" | 44 | 50 | 100 | 66 |
| 20 | 10 | 20 | 31 | M39×1.5 | G1" | 44 | 50 | 100 | 68 | |
| 25 | 12 | 25 | 31 | M39×1.5 | G1" | 44 | 50 | 100 | 105 | |
| A21W-160/160P | 15 | 8 | 2 | / | M24×2 | G1" | 44 | 50 | 100 | 261 |
| 20 | 8 | 25 | / | M33×2 | G1" | 44 | 50 | 100 | 261 | |
| 25 | 8 | 28 | / | M36×2 | G1" | 44 | 50 | 100 | 285 |
相关产品