精小型气动O型切断球阀
产品型号:ZJHR
发布时间:2009-11-25
ZJHR型精小型气动O型切断球阀是由DA系列和SR系列执行机构与精小型O型切断球阀阀体组件组成。
下一个产品:全锻钢高压硬密封球阀
上一个产品:电子式电动O型球阀
相关产品:
保温球阀
气动三通球阀
蜗轮固定球阀
电动对夹式球阀
全锻钢高压硬密封球阀
精小型气动O型切断球阀
电子式电动O型球阀
气动O型切断球阀
电动O型调节球阀
气动保温球阀
衬氟球阀
外螺纹球阀
不锈钢法兰球阀
高压焊接球阀
广式内螺纹球阀
三通四密封球阀
三片式承插焊球阀
法兰三通球阀
广式法兰球阀
法兰放料球阀
锻钢硬密封球阀
三片式对焊球阀
三片式法兰球阀
三片式球阀
二片式球阀
一片式球阀
对夹式薄型球阀
电动三通球阀
保温缩径球阀
超薄型对夹保温球阀
对夹式保温球阀
气动固定球阀
蜗轮浮动法兰球阀
螺纹不锈钢三通球阀
不锈钢整体高温球阀
气动浮动不锈钢球阀
电动硬密封V型调节球阀
电动固定球阀
锻钢固定球阀
气动O型切断球阀概述:
气动O型切断球阀广泛适用于天然气、油品、化工、冶金、造纸 电办、矿业,印染、生物制药,日用化工,食品饮料,水处理 及空气处理等行业的流体自动控制或调节控制,与自动化气动仪表配套使用。 浮动式球阀采用唇型弹性密封圈结构设计,保证密封的可靠性对于低压、超低压或真空工况用球阀,采用板簧加载的阀座密封结构,能确保球阀长期可靠的密封。中、高温球阀的阀座材料可选用对位聚苯或金属材料.。固定式球阀根据压力的大小、介质性质及密封要求的不同而选择球前密封结构、球后密封结构或前后双密封结构。中、高温球阀的阀座材料可选用对位聚苯或金属材料。
气动O型切断球技术参数:
| 阀类 | 传动方式 | 连结形式 | 结构形式 | 密封面 | 公称压力(MPa) | 阀体材料 |
| 球阀 |
6-气动 6s-气动带手动 |
法兰式 | 浮动球直通 |
F-氟塑料 H-合金钢 PPL |
1.6 2.5 4.0 6.4 |
按表内阀体 材料代号 |
| 公称通径DN(mm) | 15-250 | |||||
| 材料材料代号 | C | P | R | |||
|
主 要 零 件 |
阀体 | WCB | ZG1Cr18Ni9Ti | ZG1Cr18Ni12Mo2Ti | ||
| 球板 | WCB | 1Cr18Ni9Ti | 1Cr18Ni12MoTi | |||
| 阀杆 | 2Cr13 | 1Cr18Ni9Ti | 1Cr18Ni12MoTi | |||
| 密封圈 | 增强聚四氟乙烯 对位聚笨 | |||||
| 填料 | 聚四氟乙烯 柔性石墨 | |||||
|
适 用 工 况 |
适用介质 |
水、蒸汽、油品
|
硝酸类 | 醋酸类 | ||
| 适用温度 | -28℃~300℃ | |||||
| 控制型式 | 双作用/单作用 | |||||
| 作用型式 | 切断/调节 | |||||
| 输入信号 | 电信号:0~10mA、-4~10mA 气信号20~100kPa | |||||
| 回信电压 | AC220V/DC24V | |||||
| 工作介质 | 净化压缩压气 | |||||
| 执行器 | 型号 | GT系列、HY系列、AW系列、ZSH系列 | ||||
| 气源压力 | 0.4~0.7MPa | |||||
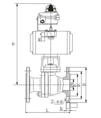
气动O型切断球结构尺寸图:

气动O型切断球安装尺寸表:
| 公称通径DN(mm) | 尺 寸(mm) | 执行器型号 | ||||||||||||||||
| 1.6MPa | 2.5MPa | H | 4.0MPa | |||||||||||||||
| L | D | D1 | B | Z-D | L | D | D1 | B | Z-D | L | D | D1 | B | Z-D | H | |||
| 15 | 130 | 95 | 65 | 14 | 4-14 | 130 | 95 | 65 | 16 | 4-14 | 200 | 130 | 95 | 65 | 16 | 4-14 | 200 |
可选配GTD/GTE、 AW/AWS、HY、 ZSH系列执行器 (以上选配仅供参 选具体选用根据实 际要求) |
| 20 | 130 | 105 | 75 | 14 | 4-14 | 130 | 105 | 75 | 16 | 4-14 | 204 | 150 | 105 | 75 | 16 | 4-14 | 204 | |
| 25 | 140 | 115 | 85 | 14 | 4-14 | 140 | 115 | 85 | 16 | 4-14 | 215 | 160 | 115 | 85 | 16 | 4-14 | 210 | |
| 32 | 165 | 135 | 100 | 16 | 4-18 | 165 | 135 | 100 | 18 | 4-18 | 240 | 180 | 135 | 100 | 18 | 4-18 | 240 | |
| 40 | 165 | 145 | 110 | 16 | 4-18 | 165 | 145 | 110 | 18 | 4-18 | 264 | 200 | 145 | 110 | 18 | 4-18 | 264 | |
| 50 | 203 | 160 | 125 | 16 | 4-18 | 203 | 160 | 125 | 20 | 4-18 | 274 | 230 | 160 | 125 | 20 | 4-18 | 360 | |
| 65 | 222 | 180 | 145 | 18 | 4-18 | 222 | 180 | 145 | 22 | 8-18 | 379 | 290 | 180 | 145 | 22 | 8-18 | 390 | |
| 80 | 241 | 195 | 160 | 20 | 8-18 | 241 | 195 | 160 | 22 | 8-18 | 389 | 310 | 195 | 160 | 22 | 8-18 | 450 | |
| 100 | 305 | 215 | 180 | 20 | 8-18 | 305 | 230 | 190 | 24 | 8-23 | 416 | 350 | 230 | 190 | 24 | 8-23 | 480 | |
| 125 | 356 | 245 | 210 | 22 | 8-18 | 356 | 270 | 220 | 28 | 8-25 | 542 | 400 | 270 | 220 | 28 | 8-25 | 650 | |
| 150 | 394 | 280 | 240 | 24 | 8-23 | 394 | 300 | 250 | 30 | 8-25 | 572 | 480 | 300 | 250 | 30 | 8-25 | 670 | |
| 200 | 457 | 335 | 295 | 26 | 12-23 | 457 | 360 | 310 | 34 | 12-25 | 600 | 600 | 375 | 320 | 38 | 12-30 | 720 | |
订货须知:
一、A:产品名称、型号、公称通径B:介质及温度、压力范围C:是否有附件、交货期、特殊要求等以便我们的为您正确选型。
二、若已经由设计单位选定我公司的阀门型号,请您根据阀门参数直接与我们销售中心订购。
三、当您使用的场合非常重要或环境比较复杂时,请您提供设计图纸和详细参数,我们的工程师专家会专心为您审核与分析。
四、以上价格均为虚价,有意者请华体会体育-华体会(中国)-hth.com。