相关产品:
保温球阀
气动三通球阀
蜗轮固定球阀
电动对夹式球阀
全锻钢高压硬密封球阀
精小型气动O型切断球阀
电子式电动O型球阀
气动O型切断球阀
电动O型调节球阀
气动保温球阀
衬氟球阀
外螺纹球阀
不锈钢法兰球阀
高压焊接球阀
广式内螺纹球阀
三通四密封球阀
三片式承插焊球阀
法兰三通球阀
广式法兰球阀
法兰放料球阀
锻钢硬密封球阀
三片式对焊球阀
三片式法兰球阀
三片式球阀
二片式球阀
一片式球阀
对夹式薄型球阀
电动三通球阀
保温缩径球阀
超薄型对夹保温球阀
对夹式保温球阀
气动固定球阀
蜗轮浮动法兰球阀
螺纹不锈钢三通球阀
不锈钢整体高温球阀
气动浮动不锈钢球阀
电动硬密封V型调节球阀
电动固定球阀
锻钢固定球阀
对夹式薄型球阀资料说明:
对夹薄型球阀与普通球阀相比,具有结构长度短、重量轻、安装方便、节省材料等显著的优点。对夹保温夹套球阀保温效果好。此外,阀座采用弹性密封结构,密封可靠,启闭轻松。设有耐火结构,万一发生火灾时,仍然能够可靠操作并具有良好的密封性。根据用户需要,可设有防静电结构。设置了90°开关带孔定位片,根据需要可以加锁,防止误操作。
对夹式薄型球阀用途:
对夹球阀及对夹保温夹套球阀适用于Class150、PN1.0~2.5MPa,工作温度 29~180℃(密封圈为增强聚四氟乙烯)或 29~300℃(密封圈为对位聚苯)的各种管路上,用于截断或接通管路中的介质,选用不同的材质,可分别适用于水、蒸汽、油品、硝酸、醋酸、氧化性介质、尿素等多种介质.
对夹薄型球阀性能参数:
| 公称通径: | DN15-DN200 | |
| 公称压力: | PN10,PN16,PN40 | |
| 适合法兰 : | ANSI CLASS150, 300 | |
| 手柄操作或驱动器装置操作 | ||
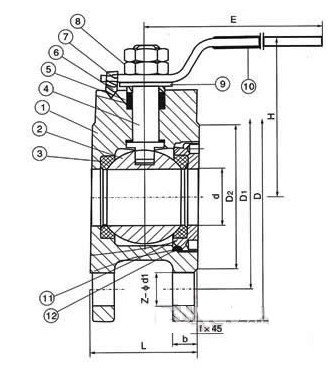
对夹薄型球阀主要零件材料:
|
序号 NO |
零件名称 | 材质 | |
| 1 | 阀体 | 不锈钢CF8M/CF8 | 碳钢WCB |
| 2 | 球 | 不锈钢316/304 | 不锈钢SS304 |
| 3 | 密封垫 | 聚四氟乙烯PTFE | 聚四氟乙烯PTFE |
| 4 | 阀杆 | 不锈钢316/304 | 不锈钢SS304 |
| 5 | 填料 | 聚四氟乙烯PTFE | 聚四氟乙烯PTFE |
| 6 | 定位锁 | 不锈钢304 | 不锈钢SS304 |
| 7 | 手柄 | 不锈钢304 | 不锈钢SS304 |
| 8 | 阀杆螺母 | 不锈钢304 | 不锈钢SS304 |
| 9 | 填料压盖 | 不锈钢304 | 不锈钢SS304 |
| 10 | 手柄套 | 塑料 | 塑料 |
| 11 | 密封瓶帽 | 不锈钢316/304 | 不锈钢SS304 |
| 12 | 垫圈 | 聚四氟乙烯PTFE | 聚四氟乙烯PTFE |
对夹薄型球阀主要技术参数:

| SIZE | 1/2" | 3/4" | 1" | 1 1 / 4 " | 1 1 / 2 " | 2" | 2 1 / 2 " | 3" | 4" | 5" | 6" | 8" |
| d | 15 | 19 | 23.5 | 30 | 36 | 45 | 58 | 67 | 76 | 100 | 125 | 195 |
| L | 35 | 38 | 42 | 50 | 60 | 72 | 95 | 118 | 140 | 195 | 260 | 350 |
| D | 95 | 105 | 115 | 135 | 145 | 160 | 180 | 195 | 215 | 245 | 280 | 335 |
| D1 | 65 | 75 | 85 | 100 | 110 | 125 | 145 | 160 | 180 | 210 | 240 | 295 |
| D2 | 45 | 55 | 65 | 78 | 85 | 100 | 120 | 135 | 155 | 185 | 210 | 265 |
| H | 62 | 70 | 79 | 86 | 92 | 102 | 158 | 172 | 187 | 200 | 240 | 278 |
| E | 110 | 125 | 135 | 150 | 150 | 180 | 250 | 300 | 350 | 650 | 840 | 1000 |
| b | 14 | 14 | 16 | 16 | 18 | 20 | 22 | 24 | 24 | 26 | 26 | 28 |
| z-d1 | 4-14 | 4-14 | 4-14 | 4-18 | 4-18 | 4-18 | 4-18 | 8-18 | 8-18 | 8-18 | 8-23 | 12-20 |
| f | 2 | 2 | 2 | 3 | 3 | 3 | 3 | 3 | 3 | 3 | 3 | 3 |