信号蝶阀
产品型号:XD371X-10
发布时间:2009-9-4
XD371X-10、XD371X-16 型对夹式信号蝶阀适用于消防系统中控制阀门,要求常开的场合,当阀门开或关到指定位置时,阀门上的信号装置便可发出信号送至消防检测中心可以显示出蝶阀开启或关闭,以防止阀门误关闭而影响自动喷水灭火功能。
下一个产品:法兰式硬密封保温蝶阀
上一个产品:法兰式衬四氟蝶阀
相关产品:
XD371X信号蝶阀产品概述
XD371X信号蝶阀引进国外先进技术而自行开发的中线型蝶阀,当阀门被误关闭25%(全开度的1/4)时,电信号装置便输出被误关闭的信号到消防控制中心。XD371X信号蝶阀是消防自动喷水灭火系统的*佳配套产品。XD371X信号蝶阀的电信号装置设计于蜗杆、蜗轮驱动装置的顶部,并与阀杆直联传动,在精密全封闭的机电装置内,没有阀门开启度机械指示器和进口电气元件及防锈机件。输出信号长期稳定可靠。是消防工程中ZS系列自动喷水来灭火系统的控制阀,是一种蜗轮传动对夹带有启闭信号装置的蝶阀,具有显示灭水装置水源启闭功能,该阀具有密封性能好、开闭灵活、启闭显示位置准确、可靠、防潮等特点。
XD371X信号蝶阀用途及特点
1、小型轻便,容易拆装及维修,并可以任意位置安装。
2、结构简单、紧凑、90°旋转启闭迅速。
3、操作扭矩小,省力轻巧。
4、达到完全密封,气体试验泄漏为零。
5、选择不同零部件材质,可适用多种介质。
6、流量特性趋于直线,调节性能好。
7、启闭试验次数多达万次,使用寿命长。
XD371X信号蝶阀主要技术参数
| 公称通径 | DN(mm) | 50~200 | ||
| 公称压力 | PN(MPa) | 0.6 | 1.0 | 1.6 |
|
试验压力 Ps(MPa) |
强度试验 | 0.9 | 1.5 | 2.4 |
| 密封试验 | 0.66 | 1.1 | 1.76 | |
| 适用介质 | 水、海水、油品 | |||
| 适用温度 | ≤80℃ | |||
XD371X信号蝶阀主要零部件材料
| 零件名称 | 材料 |
| 阀体 | 铸铁、铸钢 |
| 蝶板 | 铸钢(表面处理)、铸铁(表面处理) |
| 密封圈 | 丁晴橡胶、氟橡胶 |
| 阀杆 | 2Cr13 |
| 填料 | 氟塑料、柔性石墨 |
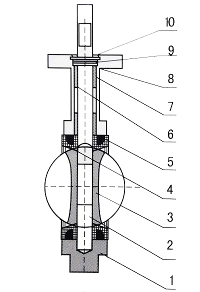
XD371X信号蝶阀结构示意图

图中标注数字注释:1表示阀体,2表示阀轴,3表示蝶板,4表示阀座,5表示填料,6表示衬套,7表示密封圈,8表示圆垫片,9表示对开环,10表示挡圈。
XD371X信号蝶阀主要外形及连接尺寸

| 公称通径 |
结构长度 (标准值) |
外形尺寸(参考值) | 连接尺寸(标准值) |
参考重量 (kg) |
|||||||
| 1.6MPa | |||||||||||
| 毫米 | 英寸 | L | H | H0 | A | B | D0 | D | D1 | n-d | |
| 50 | 2 | 43 | 102 | 362 | 200 | 200 | 160 | 165 | 125 | 4-18 | 15 |
| 65 | 2 1/2 | 46 | 112 | 382 | 200 | 200 | 160 | 185 | 145 | 4-18 | 17 |
| 80 | 3 | 49 | 120 | 400 | 200 | 200 | 160 | 200 | 160 | 8-18 | 19.5 |
| 100 | 4 | 56 | 137 | 434 | 200 | 200 | 160 | 220 | 180 | 8-18 | 23 |
| 125 | 5 | 64 | 162 | 480 | 200 | 200 | 160 | 250 | 210 | 8-18 | 28 |
| 150 | 6 | 70 | 174 | 550 | 280 | 280 | 240 | 285 | 240 | 8-22 | 48 |
| 200 | 8 | 71 | 207 | 615 | 280 | 280 | 240 | 340 | 295 | 12-22 | 53 |
| 250 | 10 | 76 | 242 | 694 | 280 | 280 | 240 | 405 | 355 | 12-26 | 94 |
| 300 | 12 | 83 | 284 | 829 | 420 | 520 | 350 | 460 | 410 | 12-26 | 124 |