华体会体育

华体会体育-华体会(中国)-hth.com 是一家专业生产螺纹闸阀,暗杆闸阀,铸铁闸阀等阀门产品厂家
当前位置: 华体会体育 > 闸阀 > 螺纹闸阀 > 内螺纹暗杆楔式闸阀
内螺纹暗杆楔式闸阀
  • 内螺纹暗杆楔式闸阀
  • 内螺纹暗杆楔式闸阀
  • 内螺纹暗杆楔式闸阀
  • 内螺纹暗杆楔式闸阀

内螺纹暗杆楔式闸阀

产品型号:Z15T-10

发布时间:2008-4-29

内螺纹暗杆楔式闸阀广泛适用于石油化工,火力发电厂等油品、水蒸汽管路上作接通或截断管路中介质的启闭装置。
下一个产品:暗杆楔式闸阀
上一个产品:明杆弹性座封闸阀
分享到:

内螺纹暗杆楔式闸阀概述:

Z11H、Z11Y 型 PN25~PN160 钢制内螺纹楔式闸阀:手动、内螺纹连接、明杆楔式单闸板,Z11H 阀座密封面材料为 Cr13 系不锈钢、Z11Y 阀座密封面材料为硬质合金,公称压力 PN25~PN160,阀体材料为碳素钢(Z11H-25~63 Z11Y-25~160)、锻钢(Z11H-100~160)、铬钼钢(Z11Y-25I~63I)、铬镍钛不锈钢(Z11Y-25P~160P)的闸阀。

内螺纹暗杆楔式闸阀主要技术参数:

型号 公称压力MPa 试验压力MPa 工作
温度
使用介质
壳体 密封
Z15T-10 1.0 1.5 1.1 ≤120℃ 水、蒸汽及其它非腐蚀性介质

内螺纹暗杆楔式闸阀主要技术参数:

阀体阀盖 灰铸铁
阀杆 碳钢
闸板密封圈
填料 油浸石棉盘根

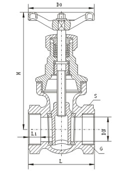
内螺纹暗杆楔式闸阀主要外形尺寸:

口径
DN(mm)
管螺纹
G(")
尺    寸 dimensions(mm)
L L1 S H Do
15 1/2 65 12 27 105 65
20 3/4 70 14 34 120 65
25 1 80 15 42 150 80
32 11/4 85 16 55 155 80
40 11/2 95 20 60 170 100
50 2 110 22 80 210 100
65 21/2 120 25 95 240 135
80 3 145 30 105 275 140
100 4 155 30 135 300 160

 

华体会体育-华体会(中国)-hth.com 版权所有 浙ICP备09016411号-16
公司地址:浙江省永嘉县瓯北镇浦西工业区
阀门销售电话:0577-67987230